Циклон ЦН-15
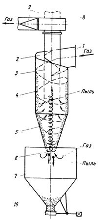
Циклон ЦН-15 используется для очистки воздуха от твердой сухой слабо слипающейся пыли, образующейся в ходе технических процессов, таких как сжигание, сушка, транспортировка сыпучих грузов. Запыленность воздуха при этом не должна превышать 400 г/м3. Наиболее часто используются на предприятиях химической, машиностроительной, металлургической, нефтяной, энергетической промышленности и др.
Не рекомендуется использовать для очистки от сильно слипающейся или волокнистой пыли. Не предназначен для работы с взрывоопасной и абразивной пылью. В ходе работы циклона, необходимо обеспечить постоянную выгрузку скапливающейся пыли; уровень находящейся в бункере пыли всегда должен быть ниже крышки бункера 0,5 от диаметра циклона.
Особенности циклона ЦН-15
Несмотря на то, что циклоны ЦН-15 не рекомендуется использовать во взрывоопасной среде, имеется возможность его изготовления во взрывобезопасном исполнении. В таком варианте, в конструкции задействуются взрывные клапана, а бункер циклона делается меньших размеров, что позволяет избегать большого скопления взрывоопасной пыли. Однако, данная конструкция используется достаточно редко и необходима только в индивидуальных случаях.
Для увеличения степени очистки воздуха, циклоны ЦН-15 могут использоваться в групповом варианте, по 2, 4, 6 или 8 циклонов в группе с различным диаметром. Однако стоит учитывать, что при увеличении диаметра циклона снижается степень воздухоочистки. Поэтому, использовать циклоны диаметром свыше 1000мм не рекомендуется. В групповом варианте камерой для очищенного воздуха может быть пылесборник либо «улитка», в одиночном только «улитка».
Техническая информация ЦН-15
Для правильного чтения и понимания технических характеристик, необходимо знать условные обозначения циклона:
- Ц - циклон
- Н- НИИОгаз
- 15 – угол наклона в градусах входного патрубка от горизонтали
Для групповых вариантов так же указываются следующие характеристики (на примере ЦН-15 600х4 УП):
- 600 – внутренний диаметр цилиндрической части
- 4 – кол-во циклонов в группе
- У – «улитка» (камера очищенного газа)
- П – пирамидальная форма бункера

Изготавливаются в левом и правом исполнении. Устанавливается на всасывающей либо нагнетающей стороне линии аспирации. Для защиты вентилятора от повышенного износа посредством прохождения абразивной пыли через крыльчатки, можно установить циклон перед ним. Температурный режим работы данного вида циклонов не должен превышать 400 °С, давление не выше 5 (500) кПа (кгс/м2).
Сталь для изготовления циклонов ЦН-15 зависит от условий окружающей среды, в которой они используются. В условиях умеренных положительных температур до +40°С, используется углеродистая сталь. При низких температурных режимах до -40°С применяется низколегированная сталь.
Для повышения срока эксплуатации и износостойкости циклона, на некоторые элементы, подверженные повышенному износу, могут устанавливаться дополнительные пластины из износостойкой стали. Такие элементы могут привариваться сразу, либо быть сменными.
Максимально допустимые параметры по давлению, температуре и типам пыли для использования ЦН-15:
- Температура очищаемого воздуха – не выше 400°С
- Коэффициент гидравлического сопротивления: одиночный вариант циклона - 145;
- Групповой вариант с «улиткой» - 175, Групповой вариант с пылесборником - 185;
- Средне слипающиеся пыли – менее 250 мг/м3
- Слабо слипающиеся пыли – менее 1000 мг/м3
- Максимально возможное давление, кгс/м2 (кПа) - 500 (5)
- Оптимальная скорость, м/с: в обычных условиях Vц(Vвх) - 3,5 (16,0); абразивная пыль - Vц(Vвх) - 2,5 (11,4);
Для обеспечения эффективной газоочистки, в циклоне постоянно должно поддерживаться необходимое давление и соблюдаться другие, указанные выше условия. В противном случае, эффективность работы агрегата, его износостойкость и срок службы могут быть значительно снижены.
Ниже представлены технические характеристики одиночных и групповых циклонов типа ЦН-15, различного вида и размера.
Техническая характеристика одиночных циклонов ЦН-15x1УП

| Наименование/диаметр | Масса, кг | Производительность по воздуху м3/ч | Высота, мм |
| Циклон ЦН-15-300х1УП | 170 | 828-954 | 2493 |
| Циклон ЦН-15-400х1УП | 260 | 1450-1691 | 3000 |
| Циклон ЦН-15-450х1УП | 315 | 1835-2141 | 3333 |
| Циклон ЦН-15-500х1УП | 370 | 2270-2645 | 3665 |
| Циклон ЦН-15-550х1УП | 435 | 2740-3200 | 4024 |
| Циклон ЦН-15-600х1УП | 500 | 3262-3810 | 4382 |
| Циклон ЦН-15-650х1УП | 575 | 3825-4460 | 4735 |
| Циклон ЦН-15-700х1УП | 650 | 4400-5180 | 5088 |
| Циклон ЦН-15-750х1УП | 725 | 5100-5950 | 5396 |
| Циклон ЦН-15-800х1УП | 800 | 5800-6740 | 5704 |
| Циклон ЦН-15-900х1УП | 980 | 5700-9200 | 6310 |
| Циклон ЦН-15-1000х1УП | 1170 | 7100-11300 | 6926 |
| Циклон ЦН-15-1200х1УП | 1600 | 10200-16200 | 8248 |
| Циклон ЦН-15-1400х1УП | 2130 | 13900-22200 | 9470 |
Техническая характеристика циклонов ЦН-15х2УП (с улиткой и пирамидальным бункером)

| Наименование/диаметр | Масса, кг | Производительность по воздуху м3/ч | Высота, мм |
| Циклон ЦН-15-300х2УП | 270 | 1656-1908 | 2643 |
| Циклон ЦН-15-400х2УП | 440 | 2900-3382 | 3350 |
| Циклон ЦН-15-500х2УП | 660 | 4540-5290 | 4066 |
| Циклон ЦН-15-550х2УП | 765 | 5480-6400 | 4374 |
| Циклон ЦН-15-600х2УП | 870 | 6528-7620 | 4682 |
| Циклон ЦН-15-650х2УП | 995 | 7650-8920 | 5085 |
| Циклон ЦН-15-700х2УП | 1120 | 8800-10360 | 5488 |
| Циклон ЦН-15-750х2УП | 1280 | 10200-11900 | 5846 |
| Циклон ЦН-15-800х2УП | 1440 | 11600-13500 | 6204 |
| Циклон ЦН-15-900х2УП | 1780 | 10200-11900 | 6910 |
Техническая характеристика циклонов ЦН-15х4УП

| Наименование/диаметр | Масса, кг | Производительность по воздуху м3/ч | Высота, мм |
| Циклон ЦН-15-400х4УП | 820 | 5800-6764 | 3450 |
| Циклон ЦН-15-450х4УП | 1005 | 7340-8564 | 3808 |
| Циклон ЦН-15-500х4УП | 1190 | 9080-10580 | 4166 |
| Циклон ЦН-15-550х4УП | 1420 | 10960-12800 | 4524 |
| Циклон ЦН-15-600х4УП | 1650 | 13048-15240 | 4882 |
| Циклон ЦН-15-650х4УП | 1905 | 15300-17840 | 5235 |
| Циклон ЦН-15-700х4УП | 2160 | 17600-20720 | 5588 |
| Циклон ЦН-15-750х4УП | 2480 | 20400-23800 | 5946 |
| Циклон ЦН-15-800х4УП | 2800 | 23200-27040 | 6304 |
| Циклон ЦН-15-900х4УП | 3510 | 22860-36580 | 7010 |
Техническая характеристика циклонов ЦН-15х6УП

| Наименование/диаметр | Производительность по воздуху м3/ч | Высота, мм | Масса, кг |
| Циклон ЦН-15-500х6УП | 13620-15870 | 4216 | 1920 |
| Циклон ЦН-15-550х6УП | 16440-19200 | 4624 | 2280 |
| Циклон ЦН-15-600х6УП | 19572-22860 | 5032 | 2640 |
| Циклон ЦН-15-650х6УП | 22950-26760 | 5360 | 3155 |
| Циклон ЦН-15-700х6УП | 26400-31080 | 5688 | 3670 |
| Циклон ЦН-15-750х6УП | 30600-35700 | 6096 | 4090 |
| Циклон ЦН-15-800х6УП | 34800-40560 | 6504 | 4510 |
| Циклон ЦН-15-900х6УП | 34290-54860 | 7360 | 5660 |
Циклоны
Конвейеры
ВВД
Цеха
Роторы